唐人阁论坛 trg江苏,南宁夜生活桑拿论坛南宁板块,青岛的桑拿论坛交流群

全自动灌装机生产线_液体灌装机_半自动灌装机生产厂家
热线电话:021-68221060
电子邮箱:sales@jashon.com
  • 公司新闻
联系方式 contact us
电话: 021-68221060
手机 : 135-8560-3188
地址 : 上海市浦东新区大麦
湾工业区航帆路58-60号
News 新闻资讯
当前页: 灌装机生产厂家 > 新闻资讯

控制液体定量灌装机的定量办法

控制液体定量灌装机的定量办法

这种办法是经过控制被灌容器中液位的高度以到达定S灌装的目的。由于每次灌装的液料容积等于一定A度的瓶子内腔容积,故习气称它为“以瓶定量'该法的设备构造比拟简单,不滞要辅助设备,运用便当,但关于请求定M精确度高的产品不宜采用,闵为瓶子的容积梢度直接影响灌装虽的精度。随若液料的继续灌人,液面超越排气锌嘴,瓶口局部的剩余气体只得被紧缩,一旦压力均衡,液料就不再进人瓶内而沿排气管。

控制液体定量灌装机的定量办法

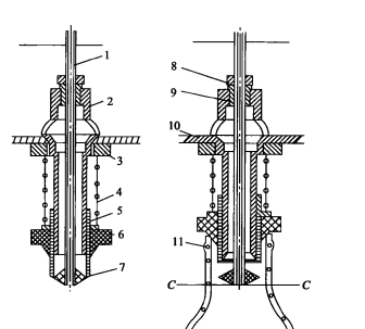
I一播气2—灌鞋架:3—鑤母;4一嬅簧;5—滑套;

6—橡皮龟;7—灌装头;8—压*螺母:9一两节蠓母;

10贮液箱;丨丨一慰子上升。

依据连通器原理,不断升至与贮液箱内液位程度为止,然后瓶子降落.紧缩弹簧4保证灌装头与滑套间的重新密封,排气管内的液料也滴人瓶内,从而完成了一次液体定量灌装,只耍操作条件不变,瓶内每次灌装的液料高度也坚持不变。关于这种定虽办法,若改动每次的灌装量,则只需改动排气气管中的位置。

阅读本文还阅读了

高效安全的化妆品凝胶剂灌装机火爆“化妆圈”

返回上级

上海佳诚包装机械设备制造有限公司是一家专业灌装机生产厂家,主要制造全自动自动灌装生产线、全自动灌装机液体灌装机可以按照不同需求为客户定制半自动灌装机。佳诚包装设备远销全球50多个国家和地区,并获得广泛好评。

全自动灌装机原理 版权所有©2025上海佳诚包装机械设备制造有限公司 http://m.cpsepzb.cn/ 备案号:沪ICP备13040379号-1
友情链接:
主站蜘蛛池模板: 秦安县| 鄂托克旗| 子洲县| 阿勒泰市| 三门县| 四平市| 龙州县| 长宁县| 迁安市| 安西县| 色达县| 华蓥市| 高台县| 正阳县| 曲麻莱县| 郧西县| 肥城市| 瑞丽市| 张家界市| 商城县| 惠安县| 莱西市| 深圳市| 宿州市| 叶城县| 澄迈县| 体育| 宁津县| 嘉定区| 堆龙德庆县| 卓尼县| 五家渠市| 宜兰市| 平乡县| 皋兰县| 周口市| 东乡| 石嘴山市| 荆州市| 桐梓县| 榆中县|